Ford patentirao mjenjač za električne aute
AMERIČKI proizvođač automobila Ford registrirao je u SAD-u patent za novu tehnologiju namijenjenu električnim vozilima – simuliranu ručicu ručnog mjenjača koja vozaču pruža osjećaj vožnje kao u automobilima s motorima s unutarnjim izgaranjem iako u stvarnosti ne mijenja stupnjeve prijenosa.
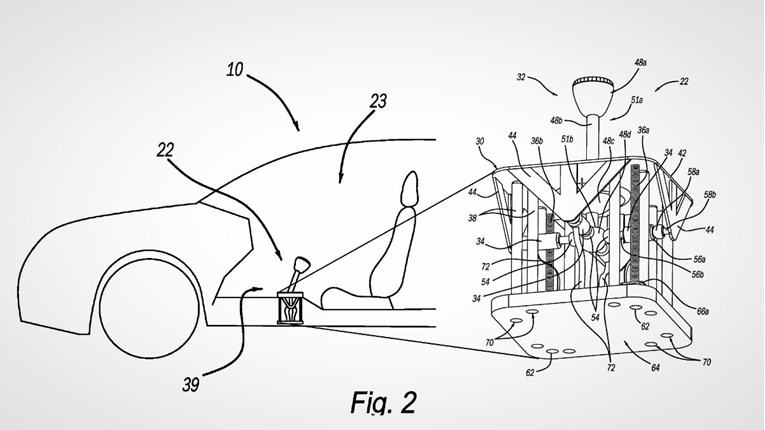
Patent pod nazivom Shifter Assembly For Electric Vehicle objavljen 20. ožujka, opisuje klasičnu ručicu mjenjača fiksiranu za pod – dizajnom podsjeća na onu iz starog Ford Mustanga – no njezina funkcija je potpuno elektronička.
Tu je da vozačima električnih auta da osjećaj mijenjanja brzina
Ručica nije spojena na pravi mjenjač, već šalje signale kontrolnoj jedinici, koja zatim simulira promjene u isporuci momenta kako bi se stvorio osjećaj vožnje automobila s klasičnim ručnim mjenjačem.
Drugim riječima, vozač mijenja "brzine" kao i obično, ali iza svega stoji elektronička kontrola koja oponaša pauze u snazi i otpor ručice kako bi doživljaj bio realističniji.
Iako Fordova ideja privlači pažnju, nije sasvim nova.
Hyundai već napravio nešto slično. Toyota ima simulaciju kvačila
Hyundai je već uveo sličnu funkcionalnost u svom sportskom modelu Ioniq 5 N koristeći lopatice iza volana za simulaciju promjene brzina. Toyota ide i korak dalje testirajući električni automobil sa simulatorom kvačila – čak i mogućnošću da se "uguši" ako vozač napravi grešku pri kretanju.
Ford, s druge strane, primjenjuje mehaničku komponentu: u podnožje ručice ugrađeni su mali elektromotori koji pružaju fizički otpor pri simuliranoj promjeni stupnja, dodatno pojačavajući dojam vožnje s pravim mjenjačem.
Patent je prvi put prijavljen još 2023. godine, što pokazuje da Ford ovu ideju razmatra već neko vrijeme. Međutim, zasad nije poznato hoće li tehnologija ući u serijsku proizvodnju.
Brže učitavanje članaka, bez ometanja dok čitate.
10 eura mjesečno.